26,May, 2023
Understanding PLUs with a Swift SWZ Pric...
In this demonstration you will learn how to set up product look up functions on an Adam Equipment SWZ Swift retail scale...
12,May, 2023
Setting up Checkweighing on a Checkweigh...
This guide shows you how to use the checkweighing function on a Cruiser CKT Bench Checkweighing scale
18,Feb, 2022
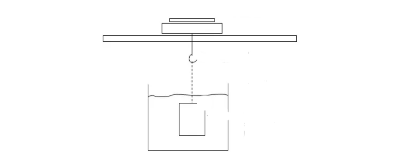
Calculating Density Using a Balance
This tutorial will guide you through density calculations for solids using a balance that does not have a density functi...
09,Dec, 2021
Your Moisture Analyser Sample Procedural...
This booklet contains sample testing procedural guides for moisture analysis. Using this PDF, you can find how to proces...
25,Feb, 2020
Using Density Kits with Balances
This guide shows you how to use the Adam Equipment density kits to figure out the density of an object using an Adam lab...
07,Aug, 2019
AE 504 PLU Software Input Guide
A guide to help users enter PLUs into the AE 504 indicator using the included PC software.






